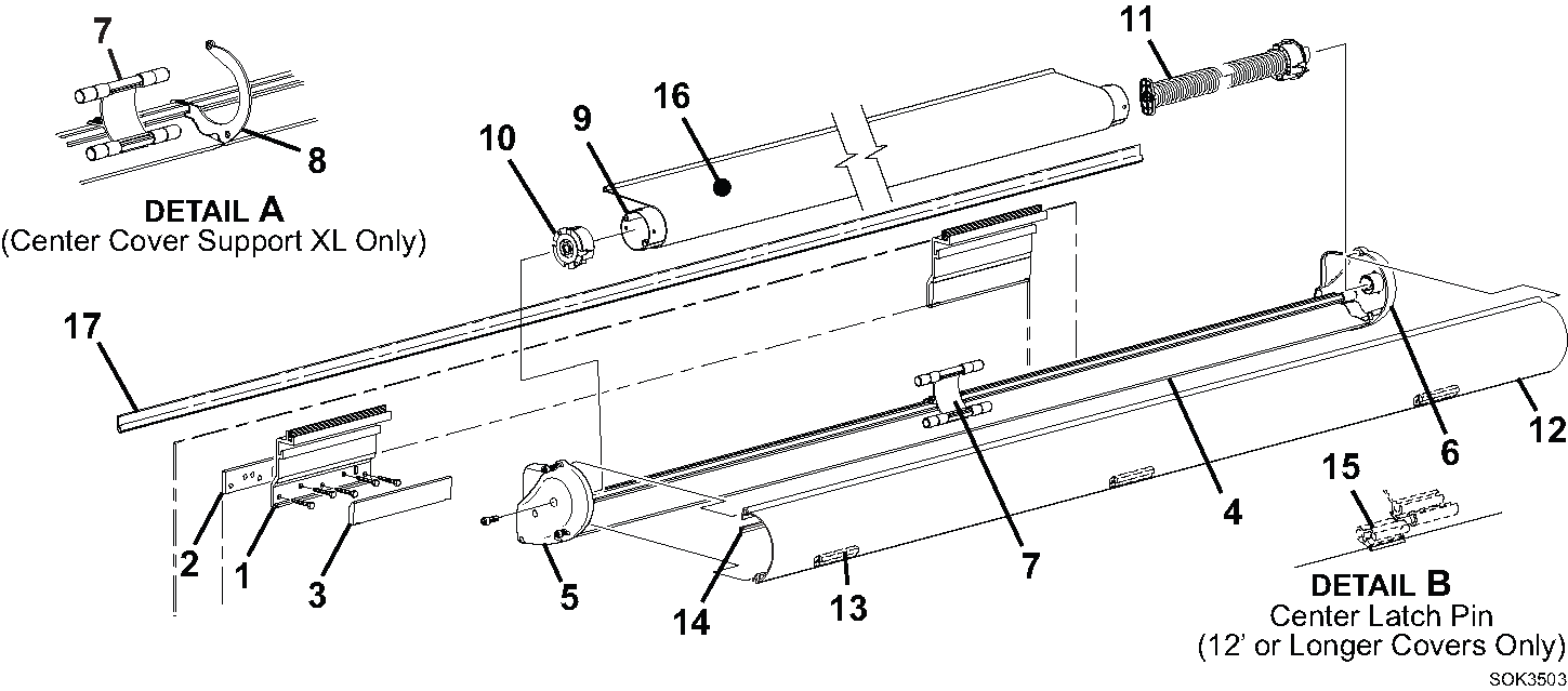
SideOut Kover III Replacement Parts
| Item # | Part Number | Description | Additional Information | Notes |
|---|---|---|---|---|
| 1 | R001150XXX | Bracket, Deflector Mount, Short (4.5″) | 4.5″ | 6 |
| 2 | R001534 | Spacer, 1/4″, Deflector Bracket | ||
| 3 | R001151XXX | Cover, Deflector Mount Bracket | ||
| 4 | R001153XXX-xxx R001338XXX-xxx R001339XXX-xxx |
Deflector Assembly Deflector Assembly, LH Deflector Assembly, RH |
XL Only XL Only |
|
| 5 | R001520XXX | End Cap, LH | Screw Cover Attach | |
| 6 | R001521XXX | End Cap, RH | Screw Cover Attach | |
| 7 | R001156 | Roller Support | 7 | |
| 8 | R001258 | Center Support Plate | includes cover attach pins / XL Only | |
| 9 | 610400-xxx 33XXX |
Roller Tube Roller Tube |
XL | |
| 10 | R001164 | Idler Bearing, Roller Tube, LH | ||
| 11 | R001165 R001165XL |
Spring Assembly Spring Assembly |
XL | |
| 12 | R041481-001 | Spring Sleeve, used with single slot roller tube | ||
| 13 | R001169XXX-xxx R001337XXX-xxx |
Front Cover Assy Front Cover Assy |
XL |
5 3,5 |
| 14 | R001364 | Bumper, Deflector, Rubber | ||
| 15 | R001562 | Bumper, Front Cover | Pkg of 4, (24″) | 4 |
| 16 | R001186 | Center Latch Pin | used on 12′ or longer covers only | |
| 17 | Canopy Replacement | Canopy Only | 4 | |
| 18 | 0157xxx | Awning Rail | 4 | |
| The following parts are not displayed in the diagram above. | ||||
| 19 | R012711-00X | Hardware Pack | ||
Notes: 1: XXX = Color; xxx = Length in Inches
2: The XL replacement Roller Tube Assy includes the roller tube halves, splice, rivets, end caps and pre-wound spring.
3: XL replacement cover includes both the LH and RH halves.
4: Set of four bumper guards (item 14) is included with canopy replacements.
5: Replacement covers mount with screws. If replacing an older cover that uses spring pins, it will be necessary to also order end caps (items 5,6).
6: Units 155″ or less (order length) uses 2 brackets. Units 156″-191″ uses 3 brackets. XL units 283″ or longer uses a quantity of 5 brackets.
7: Center support (item 7) is no longer used on units 10 feet or less.
